Новости 03 января 2021 года
Компания Xiaomi в этом месяце запускает процесс обновления смартфонов до MIUI 12.5. Как стало известно, модели 2018 года выпуска не будут забыты. В первую очередь речь идёт о флагманах, но несколько бюджетников тоже обзаведутся новой версией прошивки. Всего будет обновлено 11 смартфонов. Почти каждый появился в продаже с Android 8.1 и получит MIUI 12.5 на базе операционной системы Android 10.

Обновление будут рассылать в несколько этапов. Когда дойдёт очередь до моделей 2018 года выпуска, пока что не уточняется. Первыми апдейт получат флагманы семейства Xiaomi Mi 8. Помимо стандартного издания новой версией ПО обзаведутся версии Pro, Screen Fingerprint Edition и Explorer Edition.
Все модели оснащены 6,21-дюймовым дисплеем OLED, 20-Мп фронталкой, процессором Snapdragon 845 и основной камерой разрешением 12 Мп + 12 Мп. Версии Pro, Screen Fingerprint Edition и Explorer Edition могут похвастаться поддержкой технологии Face ID, встроенным в дисплей сканером отпечатков пальцев и прозрачной тыльной стороной. Ёмкость аккумулятора составляет 3000 мА*ч, 3000 мА*ч и 3300 мА*ч соответственно. В Xiaomi Mi 8 установлена батарея на 3400 мА*ч.

Семейство Mi 8 не ограничено четвёркой флагманов. Оно также включает модели среднего класса Xiaomi Mi 8 SE на Snapdragon 710, Mi 8 Youth и Mi 8 Lite на Snapdragon 660. Версии Lite и Youth друг от друга не отличаются. Они оборудованы 24-Мп фронталкой, основной камерой с модулями на 12 Мп и 5 Мп, а ёмкость АКБ составляет 3350 мА*ч. В Xiaomi Mi 8 SE разрешение селфи-модуля снижено до 20 Мп, а за автономность отвечает АКБ на 3120 мА*ч.
MIUI 12.5 мы в конце концов увидим во флагманах Xiaomi Mi MIX 2S и Mi MIX 3. Оба оборудованы чипсетом Snapdragon 845 и основной камерой разрешением 12 Мп + 12 Мп. Третье поколение выполнено в форм-факторе слайдера, оснащено дисплеем AMOLED, фронтальной камерой разрешением 24 Мп + 2 Мп и АКБ на 3200 мА*ч. Во втором поколении установлен экран IPS, а 5-Мп фронталка расположена в нижней части лицевой стороны. За автономность отвечает аккумулятор ёмкостью 3400 мА*ч.

В завершение добавим, что прошивка MIUI 12.5 с Android 10 станет доступна для самого дешёвого смартфона 2018 года на процессоре Snapdragon 845. Речь идёт о Pocophone F1. В начальной конфигурации памяти его на старте продаж можно было купить лишь за 300 долларов. Модель обзавелась 6,18-дюймовой LCD-панелью, основной камерой разрешением 12 Мп + 5 Мп, фронталкой на 20 Мп и встроенный аккумулятором на 4000 мА*ч.
Новая часть "свитков" скорее всего выйдет ещё не скоро, т.к. Bethesda анонсировала игру совсем недавно – в 2018 году. Не очень интригующий трейлер положил конец всем остальным догадкам. Кроме него издатель не предоставил геймерам никакой информации. Даже примерной даты релиза, чтобы лишний раз не давать пустых обещаний. Зато недавно, в преддверии Нового года, на официальной страничке The Elder Scrolls в Twitter компания дала маленькую подсказку. Забегая на перёд, разгадали её не сразу.
Прямо в канун праздника, 31 декабря, Bethesda опубликовала пост с полной картой Скайрима и следующими словами: "Запишите прошлое и нанесите на карту будущее". Фанатская теория основывается на том, что три огонька, расположенных по краям карты, указывают на место, где будут разворачиваться события The Elder Scrolls 6. Один из источников света располагается чётко посередине города Солитьюд. Другой находится за пределами карты. Его предназначение разгадать не удалось. Главный из них, третий (нижний), – в регионе Хаммерфелл.
Ранее он ни один раз назывался инсайдерами как место основных событий TES 6, однако доказать свою точку зрения они не могли. Или не хотели. К сожалению, со 100% уверенностью утверждать точность данной теории нельзя. Но предположение явно имеет место быть.
Источник.
Новые материнские платы для 11-го поколения Intel
будут представлены уже через 2 недели. Одной из главных их особенностей станет поддержка протокола PCIe Gen 4.0, увеличивающего пропускную способность шины PCI Express
в два раза по сравнению с PCIe 3.0. При этом в эти материнские платы можно будет ставить процессоры предыдущего поколения 10-го поколения Comet Lake, что может стать отличной бюджетной сборкой с хорошим заделом на будущее.
Однако есть у такой возможности и обратная сторона. Издание Wccftech ссылаясь на свои источники сообщает, что новые материнские платы будут работать в режиме PCIe Gen 4.0 только в связке со свежими процессорами 11-го поколения Rocket Lake.
При этом даже среди них поддержку получат не все модели, а только Core i9, Core i7 и Core i5, а серии Core i3, Pentium и Celeron будут работать только в режиме PCIe Gen 3.0. Это может нанести серьёзный удар по потенциалу игровых сборок на базе популярных процессоров Core i9-10900К, Core i7-10700К и Core i5-10600К, лишив их преимуществ повышенной пропускной способности PCIe 4.0, которая оказывает заметное влияние на скорость современных SSD и работу некоторых новых технологий, вроде NVIDIA RTX IO.
Как и было обещано, сегодня Valve опубликовала итоги всеобщего голосования за номинантов на «Премию Steam 2020». Будем откровенны, победители во многих номинациях были очевидны, но от этого ценность «Премии» нисколько не уменьшается. Победителем в главной номинации «Игра года», а также в номинации «Лучшая игра с выдающимся сюжетом» стала Red Dead Redemption 2. Лучшим VR проектом аудитория Steam назвала Half-Life Alyx.

- «Игра года» — Red Dead Redemption 2;
- «Игра года в виртуальной реальности» — Half-Life Alyx;
- «Любимое дитя» — Counter-Strike Global Offensive;
- «Друг познаётся в игре» — Fall Guys Ultimate Knockout;
- «Выдающийся визуальный стиль» — Ori and the Will of the Wisps;
- «Самый инновационный геймплей» — Death Stranding;
- «Лучшая игра, которая вам не даётся» — Apex Legends;
- «Лучший саундтрек» — DOOM Eternal;
- «Лучшая игра с выдающимся сюжетом» — Red Dead Redemption 2;
- «Устройтесь поудобнее» — The Sims 4.
А зимняя распродажа в Steam между тем продолжается: до 5 января, 21:00 по московскому времени вы ещё можете приобрести массу достойнейших игр с огромными скидками.
На начало января запланирован анонс материнских плат на новом поколении чипсетов Intel 500-й серии. Уже известно, что топовые модели на чипсете Z590 получат доступ к новому интерфейсу PCIe 4.0. Долгое время точных сведений о поддержке процессоров текущего поколения не было, но сегодня стало окончательно ясно, что производитель не планирует и не планировал раньше реализовывать подобную функцию даже на флагмане Core i9 10990К.

Это значит, что получить поддержку нового интерфейса можно выполнив несколько условий. Так, у вас должна быть материнская плата Z590 и процессор 11-го поколения Rocket Lake-S. Что любопытно, вам понадобиться процессор серии: Core i9, Core i7, Core i5, в то время как Core i3 именуется Comet Lake Refresh и будет основан на архитектуре предыдущего поколения.
Такое заявление может явно не понравиться владельцам процессоров Intel, которые планировали получить доступ к более скоростному интерфейсу посредством замены материнской платы. Теперь же для доступа к новой функции нужно второй год подряд менять всю систему, что выглядит странно, а значит подойдёт далеко не всем.

Напомним, согласно некоторым утечкам, ждать выхода новых настольных процессоров стоит не ранее конца марта. Выше можно ознакомиться со всей линейкой, а также некоторыми предварительными техническими характеристиками.
Разработчики из IO Interactive собираются довольно серьёзным образом подойти к вопросу оптимизации актуальных игр серии Hitman. Напомним, к релизу готовится Hitman 3, и с его выходом две предыдущие части получат важные обновления. Информация об этом была опубликована одним из сотрудников компании в специальной «ветке» форума ResetEra.

Разработчик сообщил, что после выхода Hitman 3 вся трилогия будет занимать только 100 Гбайт накопителя. Причём, речь в данной ситуации идёт не только об играх, но и всём дополнительном контенте для них. Это стало возможно благодаря использованию улучшенных технологий компрессии текстур и управления данными. Изменения в «весе» — не единственное изменение для предыдущих частей Hitman, ведь они получат и заметные визуальные обновления. Уже сейчас подтверждено, что игры получат новую систему отражений.
Напомним, Hitman 3 поступает в продажу 20 января, одновременно с игрой выйдет и глобальный апдейт для всей трилогии.
Наступил новый год, но практика публикации недельных чартов продаж в Steam никуда не уходит. Более того, никуда не уходит и лидер: вот уже седьмую неделю подряд (включая, разумеется, предзаказы) первое место несмотря на все трудности и потоки негативной информации гордо удерживает Cyberpunk 2077.

В остальном изменений в чарте немного, но они есть. И вот как полностью выглядит десятка лидеров чарта уходящей недели:
- Cyberpunk 2077;
- Sea of Thieves;
- Valve Index VR Kit;
- Rust;
- Hades;
- Raft;
- Phasmophobia;
- Grand Theft Auto V;
- Red Dead Redemption 2;
- Counter-Strike Global Offensive — Operation Broken Fang.
Стоит напомнить, что Valve в своих чартах учитывает игры по выручке за неделю. Хотя зачастую этот показатель можно приравнять в количеству проданных копий, но в современных играх слишком большое значение стали играть микротранзакции.
The Elder Scrolls 6, несмотря на то, что ее анонс состоялся 2,5 года назад, остается одной из самых загадочных предстоящих игр. Разработчики представили в июне 2018 года короткий, малоинформативный тизер, и с тех пор практически не вспоминали о горячо ожидаемом проекте. Bethesda подчеркивает, что для начала нужно дождаться другую крупную RPG компании — Starfield, и лишь после нее разработчики будут готовы представить какие-либо материалы про TES 6.
И все же на излете 2020 года Bethesda решила приободрить фанатов и дать им хотя бы крупицу информации о новой части. На официальной страничке The Elder Scrolls в Твиттере Bethesda оставила поздравление с Новым Годом, в котором, вероятно, содержится намек на место действия следующей части TES. Компания опубликовала изображение с картой Скайрима и несколькими свечами.

Одна из свечей стоит на Солитьюде, столице Скайрима, другая на Хаммерфелле, третья — примерно на море Призраков, которое омывает как берега Скайрима, так и Атмору, замерзший материк к северу от Тамриэля. Картинку разработчики подписали словами: «Изучите прошлое и нанесите на карту будущее. С Новым годом!🕯».
У фанатов пока нет единогласного мнения, что означают намеки Bethesda. По разным предположениям, авторы могут подсказывать, что Скайрим был прошлым серии, а Хаммерфелл будет ее будущим. Хаммерфелл, исходя из возникавших ранее туманных слухов, пока самая вероятная локация для шестой части.

Впрочем, есть определенная доля вероятности, что оставленные подсказки могут относиться и к онлайновой версии The Elder Scrolls, которую Bethesda успешно развивает в последние годы.
Невероятное по своим масштабам ралли всего рынка криптовалют продолжается. Вслед за безумным подъёмом Bitcoin, почти достигшим сегодня отметки в 35 000$, уверенный рост начала демонстрировать и вторая по популярности криптовалюта Ethereum. В ходе торгов на бирже Binance её стоимость преодолела рубеж в 900$, установив годовой рекорд в 920 долларов США за 1 ETH. Суточный рост составил 19.53%, а недельный - 43.91%.

Стоит заметить, что ещё в январе 2020 года валюта торговалась на уровне в 130-140$. Таким образом, всего за год её стоимость выросла на более чем в 7 раз. Всё это оказывает непосредственное влияние на рынок пользовательских графических адаптеров.

Возросшая прибыльность майнинга и сократившиеся сроки окупаемости оборудования сделали своё дело: цены большинства популярных видеокарт выросли почти в два раза. А некоторые особенно популярные среди майнеров модели и вовсе начали исчезать из продажи. Именно это сейчас происходит с RTX 3060 Ti, которые активно сметают с полок в Ситилинке, Регарде и прочих крупных отечественных магазинах..
![]() | ![]() | ![]() | ![]() |
Ожидается, что в начале наступившего года NVIDIA представит мобильные модели видеокарт серии GeForce RTX 30, поэтому неудивительно, что новинки начали появляться в базах данных популярных бенчмарков: известный энтузиаст TUM_APISAK обнаружил одну из новых моделей в тестовом пакете Geekbench 5, о чём и сообщает широкой общественности.
Исходя из представленных данных, мобильная видеокарта GeForce RTX 3080 получила в своё распоряжение GPU с 6144 активными ядрами CUDA, функционировавший на максимальной частоте 1,54 ГГц, а также 16 Гбайт видеопамяти. В дуэте с новинкой в составе ноутбука серии ROG Zephyrus производства ASUS трудился 8-ядерный 16-поточный процессор AMD Ryzen 9 5900H, а также 48 Гбайт оперативной памяти типа DDR4 на эффективной частоте 3200 МГц.

Источник изображения: Geekbench 5
В дисциплине OpenCL новая модель смогла набрать 139181 балл, уступив своей настольной «соплеменнице» в среднем 22,7 %, что при учёте ощутимо меньшего количества CUDA-ядер (-29,4 %) выглядит вполне неплохим результатом.
Стоит напомнить, что вместе с GeForce RTX 3080, которая будет доступна в вариациях с 16 и 8 Гбайт видеопамяти «на борту», в мобильном сегменте должны дебютировать и более доступные модели — GeForce RTX 3070 и RTX 3060.
Недавно GSC Game World показала, чего пользователям ждать от новой части Сталкера. Выйдет игра уже в этом году и, как видно с трейлера, будет иметь впечатляющую графику нового поколения, схожую с текстурами Cyberpunk 2077. В названии ролика сказано Official In-Engine Gameplay Teaser, что означает, что разработчики вырезали конкретный момент из игры, то есть геймплей, и сделали из него короткое видео. Но не все пользователи, в том числе и фанаты серии, поверили в подлинность ролика.
Окончательно положить конец спорам взялся геймдизайнер и веб-разработчик Ярослав Халиуллин, на данный момент работающий над развитием VR-технологий. Его мнение такого, что студия не взяла вырезку геймплея, а специально подготовила короткометражную сцену для подогрева интереса к игре. Кроме прочего, использовалась технология трассировки лучей, недоступная на большинстве устройств.
О том, что графика нового Сталкера заставит устаревшие устройства "попотеть", уже говорили разработчики. Не упомянули они лишь о том, что даже на минимальных настройках fps упадёт до нижайших значений. На 15-й, 24-й и 28-й секундах геймдизайнер заметил очевидные склейки разных кадров. Они дали ему понять, что окончательная графика игры вряд ли будет каким-либо образом совпадать с картинкой, выставленной разработчиками в свободный доступ.
Источник.
Новогодние и рождественские праздники – самое лучшее время для того, чтобы порадовать себя или своих близких новым смартфоном. Одним из самых популярных брендов на российском рынке уже долгое время остаётся Xiaomi. Китайский производитель придерживается разумной ценовой политики, всегда предлагая больше других компаний при равной стоимости. При этом уже длительное время в числе наиболее интересных телефонов остаётся Redmi Note 9 Pro.

В начале 2021 года ожидался выход 10-й серии, но по непонятным причинам она была отложена на неопределённый срок, а значит лучшим выбором будет именно Redmi Note 9 Pro. Прямо перед Новым годом в официальном магазине Xiaomi в РФ телефон получил скидку в 4 000 рублей. Самое время воспользоваться отличным предложением.

Если вы прочитали наш материал с опозданием, либо по каким-либо причинам хотите взять его в другом магазине, то можно посмотреть в сторону Ситилинк. Что любопытно, здесь смартфон стоит около 22 тысяч, что на 2 тысячи дороже стоимости в официальном магазине со скидкой. Однако после прекращения сезона низких цен, данное предложение будет выгоднее. Точно такая же ситуация и на Регард. Присмотритесь к одному из ритейлеров, а пока давайте изучим сильные стороны Redmi Note 9 Pro.


Большой дисплей размером 6.67 дюймов, выполненный по технологии IPS HDR10 с современной защитой Gorilla Glass 5. Мощный процессор Snapdragon 720G, обладающий неплохой производительностью в играх и любых других задачах. Ёмкий аккумулятор на 5000 мАч с быстрой зарядкой на 30 Вт, что больше, чем у многих флагманов 2020 года. 64 камера с отличным качеством съёмки фото и видео. Полный набор датчиков, включая популярный NFC, сканер отпечатков пальцев и многие другие интерфейсы.
Разработчики из студии Section 9 Interactive поделились информацией о своём первом проекте. Подана она была предельно наглядно — в виде коротеньких роликов, где некоторые геймплейные моменты можно рассмотреть в подробностях. К сожалению, названия у игры пока нет, но мы точно знаем, что речь идёт об экшен-адвенчуре для PC и консолей нового поколения. А за создание этого проекта отвечают те же люди, которые усердно трудились над дилогией Little Nightmares.

Итак, что у нас есть: вид сверху, много стрельбы и страшные мутанты в качестве врагов. Если что, все эти коротенькие ролики опубликованы в Twitter, и уже там многие стали замечать, что проект без названия очень сильно похож на Dead Space. Помимо экшена, здесь также присутствуют элементы хоррора и симулятора выживания. Эффект новизны всем этим элементам придаёт именно вид сверху, такое увидишь далеко не каждый день.
Face off against powerful enemies. Footage from a new scifi action adventure game we are working on. #gamedev #gamedevelopment #gamestudio #indiegame #games #videogames #actionrpg #actionadventure #scifi #scifigames #metroid #pcgames #consolegames #unrealengine #ue4 pic.twitter.com/YquJ2EPnQ1
— Section 9 (@section9int) December 30, 2020
Стрельба получилась не совсем аркадной — игроку нужно прицеливаться и вести огонь по уязвимым зонам врагов. Использовать перекаты и другие приёмы уклонения тоже важно и нужно.
Даты выхода у проекта Section 9 нет. И нет чёткой уверенности в том, что данный концепт дойдёт до релиза в первозданном виде, но всё пока выглядит очень интригующе.
В последнее время в российской рознице всё чаще стали появляться видеокарты нового поколения NVIDIA Ampere и AMD Big Navi. Это и GeForce RTX 3070, и GeForce RTX 3060 Ti, и даже флагман линейки – GeForce RTX 3090. Кроме того, в магазины возвращаются и Radeon RX 6800/XT вместе с супербыстрой Radeon RX 6900 XT. А вот о флагманской GeForce RTX 3080 вообще ничего не слышно.

Это могло бы показаться странным, если бы не постоянно растущий курс Биткоина, подтягивающий за собой Эфир и Монеро, которые добывают при помощи видеокарт. Может показаться, что цены на видеокарты слишком высоки, а значит нет никакой возможности купить сразу десяток графических чипов. Как оказалось, такая проблема существует только для рядовых геймеров, ведь настоящие шахтёры получают доступ к любому количеству видеокарт.
Недавно в сети появилась фотография домашней фермы, состоящей и 78 видеокарт GeForce RTX 3080 производства PNY. Предприимчивый шахтёр не делится деталями своих поставщиков. Ясно, что он брал их не в магазине, где нужно переплачивать двойную цену, а прямо с завода либо у регионального поставщика.
Эксперты сайта TechARP подсчитали вероятный доход, который можно получить с такой фермы в ближайшее время. Так, одна карта потребляет 300 Вт, все 78 – 23 КВт. Стоимость электричества в регионе шахтёра для всего комплекта видеокарт равняются чуть менее 1 500 долларов в месяц. Если приблизительно подсчитать расходы на всех остальные компоненты, то выходит не более 2 000 в месяц.

GeForce RTX 3080 выдаёт 83,57 MH/s, ну а 78 таких карточек около 6 500 MH/s. Это значит, что за месяц добычей шахтёра станут 17 344 7586 ETH стоимостью 12 840 долларов. При вычете все расходов выходит около 11 000 долларов чистого дохода в месяц или 130 тысяч в год. Ясно, что нужно было ещё купить видеокарты. Если допустить, что шахтёр потратил на них по 800 долларов за штуку, то выходит около 62 тысяч, а значит, уже после 6 месяцев ферма начнёт уходить в плюс.
Презентация процессоров Rocket Lake-S и новых материнских плат на базе набора системной логики 500-серии ожидается на онлайн-выставке CES 2021. Новое, 11 поколение процессоров сохранит исполнение LGA1200 и, очевидно, что новые процессоры будут совместимы с флагманскими версиями чипсетов 400-серии, но получат ли поддержку младшие варианты?
Официальный представитель компании MSI на одном из корейских ресурсов сообщил, что все материнские платы MSI на базе чипсетов 400-серии должны получить поддержку процессоров Rocket Lake-S. Таким образом, владельцы моделей на базе H410 и B460 точно смогут обновить свои системы. Однако ранее уже уточнялось, что только премиальные версии Z490 получат поддержку PCIe 4-го поколения — производители должны были сами позаботиться о реализации.
Источник: форумы Danawa через Twitter @harukaze5719 (Google переводчик)
Кроме этого, компания MSI снова выступает в роли инсайдера и подтверждает ранее появившиеся слухи о начале продаж процессоров Rocket Lake-S в марте. После этого и последует первая волна обновлений, которая будет затрагивать только материнские платы на базе Z490. Остальным придется подождать.
Источник: @harukaze5719
С ростом популярности гибридной консоли Nintendo Switch вполне закономерно, что многие издатели и разработчики стремятся портировать на неё свои проекты. И вот, похоже, скоро на экранах этой портативной «приставки» появится средневековая ролевая игра Kingdom Come Deliverance.

Соответствующее упоминание на официальном японском сайте Nintendo обнаружили внимательные пользователи. Судя по найденной информации, Kingdom Come Deliverance заглянет на Switch уже 18 февраля. Разработчики игры пока не подтвердили информацию, поэтому к ней в любом случае следует относиться скептически.
Напомним, что Kingdom Come Deliverance вышла в свет на «больших» платформах в феврале 2018 года, и за это время получила очень высокие пользовательские оценки. В Steam, например, её к прохождению рекомендуют 80 % всех решившихся оставить рецензию игроков.
Компания Microsoft работает над службой «Облачный ПК» (Cloud PC), которая откроет доступ к операционной системе Windows 10 для любых устройств, существенно расширит возможности совместной работы, глобальной синхронизации и интеграции сервисов Microsoft. По слухам, «Облачный ПК» позволит работать с 32-битными WinAPI приложениями на устройствах под управлением облегченной версии Windows 10X.
Устройства, изначально предназначенные для работы с облачной реализацией Windows 10, могут появиться на рынке уже к середине года. Сообщается, что Cloud PC будет базироваться на серверах службы облачных вычислений Microsoft Azure, а работа будет осуществляться через службу удаленного рабочего стола Windows.
Ресурс Windows Latest также сообщает, что активная разработка «Облачного ПК» подтверждается листингом обновлений сервиса Microsoft Graph, предназначенного для совместной работы в реальном времени. Там же упоминается, что предварительная версия Cloud API уже доступна для ограниченного круга клиентов.
Ожидается, что на момент запуска Cloud PC будет доступно как минимум три конфигурации подписки, ориентированные на различную сложность решаемых задач и уровень вычислительной нагрузки:
- Универсальная конфигурация Medium, которая подойдет большинству пользователей
- Для решения сложных задач будет доступна конфигурация Heavy
- для корпоративных клиентов будет доступна специальная конфигурация Advanced
Источник: Windows Latest
DMR 14 появилась в Call of Duty: Warzone благодаря интеграции с Call Of Duty : Black Ops Cold War, и даже без этого игрокам не хотелось такого апдейта. Интеграция прошла успешно, ну почти, все таки поправить баланс они немного не смогли, но это не первый раз такое, в той же Cold War выдала лучшие результаты оружие MP5. Опытные игроки в Warzone называют оружие DMR 14 просто необходимым для победы, и без нее ничего не получится.

DMR 14 — это полуавтоматическая винтовка, у которой маленькая отдача и быстрая скорострельность, а ее урон и делает это оружие "демоном" в глаза игроков. Эта винтовка эффективна на средней либо дальней дистанции, а со своим уроном, она может ликвидировать целый отряд, а сам игрок не получит и одной пули в свою сторону, например стреляя с возвышенности. Конечно игроки недовольны таким положением дел, они хотят увидеть баланс в игре, ибо сейчас в игре довольно много оружий, но по-настоящему "имбовых" оружий не больше 10. Данную проблему исправят с новым апдейтом, скорее всего, а сейчас единственный способ выжить, не быть открытым как в поле, старайтесь бегать в закрытых местах, это немного поможет вам, с борьбой против злостной DMR 14, либо есть второй вариант, возьмите DMR 14 и займите место, с хорошим обзором и лучше выше.
Весь 2020 год AMD планомерно отвоёвывала у Intel позиции на рынке процессоров для десктопных ПК. К концу года доля AMD среди пользователей сервиса Staem составляла солидные 25%. Но в начале 2021 года произошло довольно странное событие: некоторые издания обратили внимание на резкое сокращение доли AMD по итогам декабрьского отчёта Steam.

Данные сервиса показали потерю почти четверти пользовательской базы всего за 1 месяц, в то время как Intel разом вернули всех потерянных за год пользователей.

Но если изучить данные чуть более тщательно, то можно обнаружить, что на странице с подробной информацией о процессорах представлены совершенно другие цифры. Intel действительно отвоевали целых 2.18% пользователей. но ни о каких 6-7% речи уже не идёт. А информация на главной странице скорее всего является результатом банальной ошибки системы.
Основной причиной ослабления позиций AMD можно назвать завышенные цены на семейства процессоров Ryzen 3000 и Ryzen 5000. Но не стоит также забывать и о более гибкой ценовой политике Intel. В данный момент компания активно снижает цены на свою продукцию и предлагает аналогичную процессорам Ryzen производительность в игровых задачах.
Декабрь ознаменовался не только различного рода разоблачениями, но и всевозможными движениями в IT-сфере. Так, например, вот уже месяц радостные инвесторы наблюдают безудержный рост криптовалюты Bitcoin (BTC). Последняя практически удвоила свою стоимость относительного начала прошлого месяца.
Точка отсчета ведется с 11 декабря, когда цена колебалась у отметки 17700 долларов, и в данный момент, согласно данным, приведенными на ресурсе coinmarketcap, первая криптовалюта уверенно штурмует диапазон 35000-40000 долларов за монету.

Если же брать за нижнюю временную границу март прошлого года, то получится, что всего за десять месяцев Bitcoin вырос в цене в семь раз — доходность, которая не снилась даже прожженным спекулянтам Уолл-стрит.
Как известно, биткоин не поддается техническому анализу, и поведение его ценового графика предсказать невозможно. Трудно сказать, кто стоит за этими манипуляциями, крупные держатели BTC, владельцы бирж или же всем правит обычная человеческая жадность.
Но, так или иначе, дело Сатоши Накамото живет и дарит, кому баснословную прибыль в кроткий срок, а кому незабываемый на всю жизнь урок.
Информационное агентство Bloomberg сообщает, что двенадцатилетняя девочка из Лондона подала в суд на приложение TikTok. Она обвиняет его в нарушении законов Европейского Союза о защите данных. Иск был подан анонимно. Его продвижением будет заниматься представитель по делам детей от Англии Энн Лонгфилд.
Лонгфилд говорит о важности анонимности, поскольку в противном случае могли бы возникнуть проблемы с сетевыми угрозами со стороны других детей и пользователей приложения, также негативная реакция в социальных сетях.

Судья Марк Варби говорит, что по мнению ребёнка, были нарушены её права на неприкосновенность личной жизни. По мнению судьи, если отказать в анонимности, другие могут побояться выдвигать подобные иски.
На территории Европы сбор персональных данных детей со стороны TikTok находится под наблюдением представителей Евросоюза. Отдел защиты данных в июне создал рабочую группу, в рамках которой должны рассматриваться методы работы TikTok. Представители приложения утверждают, что во главу угла ставят конфиденциальность и безопасность. Для их обеспечения используются надёжные технологии и процессы.
Популярность приложения взлетела в 2020 году. Программа была установлена более 2 млрд. раз в магазинах App Store и Google Play Store. Количество регулярно активных пользователей составляет более 800 млн.
Родительской компанией приложения является китайская ByteDance, за что с радостью готовы ухватиться в США. Там любят считать, что все китайские компании ведут непрерывный сбор данных пользователей из США.
Последние несколько лет мы наблюдаем возрождение процессорного бизнеса AMD. Первыми изменения почувствовали геймеры. Второе поколение Ryzen позволило получить отличную производительность по низкой цене. Вне конкуренции было и третье поколение. К сожалению, цены на поколение четвёртое (5000-я серия) пока разочаровывают, но вся надежда на выход Intel 11-го поколения, ведь уже известно, что новый Core i9-10900K сможет обойти самый мощный 16-ядерный Ryzen 9 5950X.

Благодаря большому рывку, за последние полтора года AMD смогла отвоевать у Intel в Steam 9%, что стало настоящим рекордом. Ясно, что случилось это не за один день, ведь ситуация улучшалась с каждым месяцем, а проникновение красных чипов было медленным, поскольку геймеры чаще покупают новые видеокарты, чем процессоры. На конце ноября ситуация была такова:
- AMD: 26.9%
- Intel: 73.1%


А вот по итогам декабря у нас резкий обвал доли красной команды до 19% с ростом синих до 81%. На первый взгляд ситуация кажется абсурдной, однако после некоторого анализа всё возвращается на свои места. По мнению некоторых экспертов, проблема в одной единственной игре: Cyberpunk 2077. Проект оказался ужасно недружелюбен к процессорам AMD, а патч с исправлением вышел с большим опозданием.
Итоговое падение находится на уровне 30%, что стало самым большим обвалом за месяц. Ясно, что уже в начале февраля нас ждёт корректировка, но это показательно, как ошибки разработчиков и одна массовая игра может повлиять на миллионы пользователей.
В последние несколько недель рынок криптовалют испытывает небывалый подъём. Впору говорить о самой настоящей криптовалютной лихорадке. Курс главной криптовалюты Bitcoin после незначительной коррекции продолжил свой рост, вплотную приблизившись к очень важному психологическому рубежу в 35 000$. На данный момент рекорд стоимости актива зафиксирован на уровне в 34 778$.

Стабильный рост показывают и самые популярные альткоины. Ethereum всего за сутки прибавил более 9% к своей стоимости и достиг отметки в 800$. Похожие цифры демонстрируют Litecoin (+9.22%) и Bitcoin Cash (+5.37%).
![]() | ![]() |
Общая капитализация рынка криптовалют добралась до суммы в 874 миллиарда долларов США, чем побила рекорд января 2018 в 835 миллиардов долларов. Всеобщий ажиотаж и высокие цены ведущих криптовалют снижают среднее время окупаемости видеокарт и делают майнинг намного более прибыльным занятием.

Это уже привело к двукратному росту цен на некоторые модели пользовательских графических адаптеров. Простым геймерам в такой ситуации остаётся только ждать окончания криптолихорадки или переходить на игровые консоли.
Итальянский оверклокер GRIFF нашёл способ скоротать праздничные дни с пользой для мировой статистики ретроразгона. Центральный процессор Intel Xeon L3014 он установил в материнскую плату ASUS Rampage Extreme на основе набора логики Intel X48, а затем при помощи системы фазового перехода каскадного типа разогнал его до 5670 МГц.

Учитывать количество активных ядер для этой модели процессора очень легко – оно не превышает единицы в любом состоянии. Процессор Xeon L3014 поколения Wolfdale был представлен в первом квартале 2008 года, он выпускался по 45-нм технологии. В тесте HWBot x265 4K на указанной частоте данный процессор смог продемонстрировать результат 0,988 кадра в секунду, что является лучшим достижением для одноядерных моделей.
Ресурс VideoCardz поделился информацией о новой видеокарте GeForce RTX 3060 Ti Vision OC, которая пополнила ассортимент продукции Gigabyte недавно. Строгий дизайн с сочетанием белого и серебристого цветов призван привлечь внимание любителей создавать цифровой контент, а частоты 1410/1755/14000 МГц говорят об умеренном разгоне относительно эталонного варианта.

Видеокарта оснащается 8 Гбайт памяти типа GDDR6 с 256-разрядной шиной и графическим процессором GA104-200 с 4864 ядрами CUDA. Примечательно, что наличие трёх вентиляторов в системе охлаждения сочетается с малой высотой самой видеокарты – она занимает пространство двух слотов расширения.

На задней панели можно обнаружить сочетание двух портов HDMI 2.1 и двух DisplayPort 1.4, а вот порт USB Type-C не предусмотрен. К блоку питания видеокарта подключается через сочетание шести- и восьмиконтактного разъёмов.
На страницах ресурса Reddit один из потенциальных покупателей Radeon RX 6900 XT, которому видеокарта не досталась, опубликовал созданный им в Adobe Illustrator эскиз печатной платы. Исходный файл имеет расширение SVG и векторный формат, но на публику автор выставляет лишь PNG-версию. Для просмотра увеличенного изображения нужно нажать на картинку.
По словам автора этого шедевра эпохи позднего дефицита, на создание эскиза у него ушло полтора или два десятка часов. Азарт по мере продвижения работы начал угасать, но останавливаться на половине пути он не захотел, детально воспроизведя внешность эталонной печатной платы Radeon RX 6900 XT из базы данных TechPowerUp. До сих пор единомышленники по жанру визуализации в основном уделяли внимание внешности видеокарт, оснащённых системой охлаждения, поскольку изображение печатной платы интересует более узкий круг зрителей и требует более сложной проработки.
Ночная новость ресурса VideoCardz, перепечатанная с Tom’s Hardware Guide, имеет некоторые шансы украсить новостную ленту редакции, а не соседнюю рубрику. Материал сообщает о незначительных эволюционных изменениях видеокарты GeForce RTX AORUS Master.

Данная видеокарта производства Gigabyte недавно обрела третий восьмиконтактный разъём дополнительного питания, место под который было предусмотрено на печатной плате изначально. Нововведение по времени совпало с выходом второй ревизии видеокарты. Частоты при этом остались неизменными, что изменится с точки зрения разгонного потенциала, может показать только какая-то статистика на базе практических результатов.

По итогам 2020 года Tesla продала около 500 000 автомобилей Tesla Model X/S и Tesla Model 3/Y, что является рекордным показателем для американского производителя электрокаров. Снизу прикладывается отчётность компании о проданных автомобилях.
| Автомобили | Произведено | Доставлено |
| Tesla Model X/S | 54 805 | 57 039 |
| Tesla Model 3/Y | 454 932 | 442 511 |
| Всего продано: | 509 737 | 499 550 |
Сам Илон Маск не ожидал таких результатов, его прогноз на "выживание" Tesla был всего 10 процентов и, как он сказал, это были очень даже оптимистичные цифры.

В конце отчёта руководство Tesla поблагодарило сотрудников, партнёров и клиентов, работающих с компанией, а также заявило, что финансовый отчёт будет вскоре составлен и его результаты могут оказаться не такими радужными, как число продаж, так как компания считает автомобили проданными лишь тогда, когда все документы были оформлены правильно, новый владелец электрокара не имеет претензий.
Хотя финансовый отчёт будет подготовлен лишь в конце января, уже заранее можно сказать, что компания Tesla выполнила главную свою задачу - перестала быть убыточной, как это было в прошлых годах.
Похоже, что компания Microsoft готовит к выходу долгожданный Surface Pro 8, являющийся грядущим дополнением к линейке Surface Pro с процессором Intel, который поступит в продажу на существующих рынках.

Microsoft не раскрывает никакой информации о самом факте существования Surface Pro 8 и Surface Laptop 4, но в отчетах предполагается, что оба устройства будут представлены в начале 2021 года.
Просочившиеся изображения прототипа уже подтвердили, что Surface Pro 8, вероятно, будет точной копией оригинального Surface Pro 7. Фактически, Surface Pro 8 будет использовать те же дизайнерские решения, что и Surface Pro 7, но Microsoft планирует обновить внутреннюю аппаратную составляющую с лучшим процессором и большим количеством вариантов памяти.
В сети уже появлялись тесты предполагаемого Surface Pro 8, и новая корейская сертификация подтвердила, что устройство будет иметь возможность LTE подключения.
Поддержка LTE является не обязательной, а это значит, что покупатель всё равно сможет купить вариант без LTE. Согласно спискам продуктов, вариант LTE будет ограничен только моделями с процессорами Core i5 и Core i7. Кроме того, предыдущая утечка предполагает, что мы вполне можем увидеть Pro 8 с 1 ТБ памяти и 32 ГБ ОЗУ.
Ключевые особенности Surface Pro 8:
- процессоры Intel 11-го поколения;
- интегрированная графика Iris Xe и более высокая производительность в играх;
- 32 ГБ ОЗУ и 1 ТБ памяти.
В конце этого месяца также может быть представлен 8-гигабайтный Surface Pro 8 с процессором Core i3 и графикой Intel UHD.
Ещё совсем недавно о покупке процессора AMD Ryzen 5000-й серии можно было и не мечтать. Поставки прервались в первые же дни, а достать даже самую дорогую модель было невозможно. Энтузиасты разобрали первую партию, а понять, когда же ждать вторую поставку, было невозможно. Что же, прямо перед Новым годом в российские магазины поступила новая линейка процессоров. Поставка массовая, но может окончиться в любой момент, ведь желающих взять быстрый камень гораздо больше, чем доступно в продаже.

Сегодня мы рассмотрим несколько процессоров новой серии, которые доступны в магазине Регард. Для вашего удобства предлагаем ниже ознакомиться с официальными ценами в РФ, которые установила AMD ещё в ноябре. Смотрите на первый столбец, поскольку все представленные процессоры поставляются в комплекте BOX.

Ryzen 9 5950X. Самый мощный представитель семейства. Мало того, это самый быстрый игровой процессор на данный момент. Имеет 16 ядер и тактовую частоту до 4.9 МГц. Как видите, данный камень стоит всего на 5 тысяч дороже его рекомендованной цены, что может говорить о стабилизации поставок и реальной возможности взять такой процессор сегодня, ведь даже через пару месяцев его стоимость не снизится существенно.

Ryzen 7 5800X. Мы бы не стали называть процессор за 45 тысяч народным, но разница с рекомендованной ценой составляет всего 4 тысячи рублей, что очень даже неплохо. Данный камень обладает 8 ядрами, работающими на частоте до 4.7 ГГц, что позволяет в любой игре при должной видеокарте получать максимальное количество fps.

Ryzen 5 5600X. Мог бы стать народным процессором, если бы не слишком высокая цена для камня такого уровня. В любом случае – это единственная возможность прикоснуться к новому игровому поколению AMD, заплатив минимальную цену.


В сети появилась информация о новых вариантах графического процессора Navi 21, благодаря утечке с сайта форума разработчиков USB. Однако список не подтверждает, относится ли указанный на сайте графический процессор к графическим процессорам Navi 21 или Navi 22. Первый является графическим процессором, на базе которого создаются видеокарты серий Radeon RX 6800 и RX 6900, а второй - графический процессор для грядущей серии RX 6700 XT. Последние могут быть представлены уже совсем скоро на мероприятии CES 2021.

Вариант Navi 21 XTX уже используется графической картой Radeon RX 6900 XT, флагманской моделью из серии Radeon, основанной на архитектуре RDNA2. Неясно, является ли вариант XTXH моделью более высокого уровня или одной из вариаций существующего чипа XTX. Является ли это первым упоминанием Radeon RX 6900 не-XT или новой видеокартой для рабочих станций (Radeon Pro), в настоящее время неизвестно.

В описании продукта указан PDP (Power Delivery Profiles) 27 Вт. Эта мощность относится к разъему USB Type-C, который явно присутствует на видеокартах Navi XTXH. Другими словами, этот список подтверждает, что существует четвертая (эталонная) видеокарта Radeon с таким разъемом.

В другом списке, обнаруженном Komachi, указывается Nashira Point. На данный момент неясно, является ли это новым кодовым именем для будущего графического процессора или кодовым именем, которое уже использовалось внутри компании для уже выпущенного продукта.

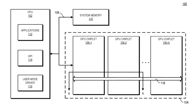
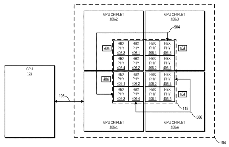
Обнаружился патент от команды AMD RTG, который показывает предстоящие планы компании по внедрению дизайна чиплета в будущие графические процессоры (вероятно, RDNA 4). Стоит иметь в виду, что это все еще патент, и окончательный дизайн может значительно отличаться.

Общий обзор конструкции на приведенном выше рисунке показывает, как компания AMD планирует пойти по этому пути. Как и в процессорах Ryzen, здесь есть идентичные ядра или чиплеты графического процессора, подключенные через высокоскоростную шину. Это может быть Infinity Fabric или что-то более быстрое. Основной чиплет связан с процессором и основной памятью. Обратите внимание, что он имеет прямой доступ к DRAM благодаря API DirectX 12.

На приведенном выше рисунке показан графический процессор с четырьмя чиплетами, подключенный с помощью кроссбара с высокой пропускной способностью. Глядя на размеры, можно сказать, что межсоединение займет около 25% пространства кристалла чиплета. Для конструкции с четырьмя микросхемами на кристалл приходится четыре блока межкомпонентной матрицы, что указывает на то, что каждый из них будет подключен ко всем остальным кристаллам на подложке.

Взглянув на отдельные чиплеты, можно увидеть, что внутреннее устройство не сильно отличается от RDNA 2. Здесь есть процессоры рабочих групп (WGP), которые обеспечивают вычислительную мощность, блоки с фиксированной функцией для растеризации, наложения текстур, тесселяции, альфа-смешивание и т. д. Кэш L3 или Infinity Cache также был сохранен.

Подобно дизайну графического процессора MCM от Imagination, эта реализация использует основной чипсет графического процессора, который координирует рабочую нагрузку между различными вторичными или подчиненными кристаллами. Принимая во внимание недостатки AFR и SFR, вполне вероятно, что при этом также будет использоваться рендеринг на основе тайлов, при этом ОС и разработчики видят только один графический процессор вместо нескольких чиплетов.

Одно из основных отличий заключается в том, что AMD будет придерживаться традиционного метода планирования нагрузки, когда ЦП передает работу графическим процессорам. Как можно видеть на приведенной выше блок-схеме, главный чиплет может направлять доступ к памяти на любой из других чиплетов на GPU и возвращать его в CPU. Учитывая, что графические процессоры более чувствительны к пропускной способности, чем центральные процессоры, и в отличие от центральных процессоров имеют высокую степень параллелизма, это не должно создавать серьезных проблем при правильной настройке.
Решили купить себе новую видеокарту, но не знаете на какой модели остановить свой выбор? Ничего удивительного, ведь доступность в магазинах пока находится на недостаточном уровне. У NVIDIA дела обстоят немного лучше, но и здесь наблюдаются проблемы. К примеру, часто менее производительная GeForce RTX 3060 Ti стоит дороже RTX 3070. У AMD вообще всё странно. Недавно в продажу поступили новые видеокарты 6000 серии, но они так быстро пропали из магазинов, что купить их было откровенно нелегко.

Сегодня мы с вами рассмотрим тестирование пяти графических чипов в реальных условиях, а именно: в играх, которые лучше, чем любые другие тесты отражают то, стоит ли новая карта тех денег, что за неё просят здесь и сейчас. Использовать мы будем результаты, полученные командой Benchmark. Разрешение установлено на отметку 2К, качество графики находится на максимальном уровне.
- GeForce RTX 3060 Ti
- GeForce RTX 3070
- GeForce RTX 3080
- Radeon RX 6800
- Radeon RX 6800 XT
Поскольку видеокарт слишком много, мы не предлагаем вам ломать глаза в таблицах, где всё сливается в кашу. Поэтому смотрите результаты на скриншотах. Нас интересует параметр Avg FPS, что означает среднее количество кадров в секунду в той или иной игре. Выше участники тестирования.
Watch Dogs Legion

Assassin's Creed Valhalla

Cyberpunk 2077

Horizon Zero Dawn

Resident Evil 3 Remake

Shadow of the Tomb Raider

Red Dead Redemption 2

Metro Exodus

Как видите, положение неоднозначное. Так, в некоторых играх победу одержала Radeon RX 6800 XT. Но в большинстве случаев у нас ничья или небольшое преимущество зелёной команды в лице GeForce RTX 3080. А вот Radeon RX 6800 кладёт на лопатки GeForce RTX 3070, побеждая её в абсолютном зачёте. GeForce RTX 3060 Ti вне конкуренции. Она обеспечивает отличную производительность. Осталось дождаться снижения цен, и мы получим кандидата на оптимальную видеокарту 2021 года для игр в разрешении 2К.









Сейчас обсуждают