Блог Fantoci
всего записей -
3441
всего записей -
3441
Новая технология помогает смартфонам выявлять сердечную недостаточность
Встроенные в телефон датчики движения, могут улавливать сердечные вибрации лучше, чем стетоскоп врача.
Звезды сохраняют свою молодость за счет поглощения остатков других звезд
Новое исследование показало, что звезды в центре нашей галактики являются "вампирами".
Изобретена оконная пленка, которая блокирует ультрафиолетовое излучение без ущерба для видимости
Инновационная пленка станет отличным решением для тех, кто хочет сохранить прохладу в своих домах и офисах, и не сидеть при этом в темноте.
Что такое полупроводники: из чего они сделаны, как работают и где применяются
Появление полупроводников можно без сомнения назвать одним их главных событий XX века. Микросхемы и транзисторы можно найти почти в любом устройстве сложнее вентилятора, но скоро они столкнутся с пределом своих физических возможностей и производителям придется что-то с этим делать.
Патент Microsoft описывает технологию, которая подскажет вам, когда нужно зарядить устройство
По словам компании, эту технологию можно применять к широкому спектру устройств.
Razer представила игровой ноутбук Blade 18 с интерфейсом Thunderbolt 5 и 4K-панелью 200 Гц
Первый в мире ноутбук с интерфейсом Thunderbolt 5 оснащен топовым процессором Intel Core i9-14900HX и RTX 4090.
Телескоп Джеймс Уэбб выявил ранее скрытые процессы внутри области звездообразования в галактике М82
Внутри галактики M82 наблюдается "бурное звездообразование" и "Уэбб" выявил физические процессы, способствующие образованию новых звезд.
Samsung раскрыла планы по разработке 3D памяти и стекированной DRAM
Южнокорейская компания заявила, что 3D DRAM может появиться через несколько лет.
Google планирует ввести «премиальный» уровень поиска на базе искусственного интеллекта
Источники сообщают, что платная подписка все равно не избавит нас от рекламы.
Мощное землетрясение на Тайване привело к остановке производства TSMC
Пока неизвестно, как землетрясение повлияет на поставки полупроводников на мировой рынок.
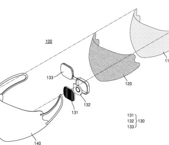
Samsung запатентовала умную маску для лица, которая очищает воздух и передает данные на телефон
Пользователи могут управлять этим устройством через мобильное приложение.
Инженеры завершили сборку самой большой в мире астрономической камеры
Камера с разрешением 3200 мегапикселей была разработана специально для обсерватории Веры Рубин.
Астрономы обнаружили карликовую галактику наполненную темной материей
Космический объект, известный в настоящее время как UMa3/U1, является самым тусклым из известных звездных скоплений, и с большой вероятностью богато темной материей.
Необычный предмет, упавший на дом во Флориде, оказался космическим мусором с МКС
Маленькая трубка может причинить большой ущерб, если её швырнуть из космоса.
Эксперт по безопасности считает, что ИИ положит конец человечеству с вероятностью в 99,999999%
Роман Ямпольский, эксперт по безопасности ИИ, не согласен с недавней оценкой Илона Маска о том, что вероятность того, что ИИ убьет человечество, составляет всего 10-20%.
Аналитики предупреждают, что цены на твердотельные накопители вот-вот взлетят
Производители флэш-памяти NAND пытаются оправиться от прошлогоднего спада за счет повышения цен.
Qualcomm заявила, что ее процессор Snapdragon X Elite уничтожит Intel Meteor Lake
Ранее американская компания сравнивала новый чип только с процессорами Intel 13-го поколения.
Марсоход Curiosity нашел новые доказательства существования воды на Марсе
Новые открытия Curiosity указывают на серию сухих и влажных циклов.
Apple похвасталась, что ее локальная модель искусственного интеллекта существенно превосходит GPT4
Сообщается, что локальная ИИ-модель учитывает все сказанное во время разговора для более естественной и продуктивной работы.
Автономные луноходы CADRE успешно прошли первые испытания
Луноходы CADRE предназначены для будущей коммерческой миссии по доставке полезной нагрузки CLPS.


Сейчас обсуждают