боеприпас
всего материалов по тегу -
9
В США разрабатывают новое поколение противобункерных авиабомб NGP на замену GBU-57 MOP
Авиабомба NGP - вес около 10 тонн, точность до 2,2 метра и защита от радиоэлектронного подавления
Снаряд Sceptre с прямоточным воздушно-реактивным двигателем представлен в Британии
Этот «умный» снаряд обладает дальностью до 150 км, достигает скорости 3,5 Маха (примерно 4322 км/ч) и поражает цель с точностью до 5 метров даже при глушении GPS.
Появилась информация про обновленный барражирующий боеприпас «Ланцет»
Он способен действовать ночью и лететь еще дальше.
Германия увеличила поставки 155-мм артиллерийских снарядов на Украину
Этим делом занялся концерн Rheinmetall.
Опубликованы кадры разрушения снарядом «Краснополь» моста снабжения ВСУ в Харьковской области
Работая в традиционной связке с разведывательным беспилотником "Орлан", управляемый снаряд точно попал в уцелевший участок пролета моста, вследствие чего объект транспортной инфраструктуры стал окончательно непригодным для использования.
Опубликованы кадры точного поражения танка Т-64БВ ВСУ боеприпасом "Ланцет"
На снятых при помощи беспилотника кадрах объективного контроля можно увидеть, как в выявленный аэроразведкой ангар через небольшое отверстие в крыше залетел барражирующий боеприпас, с хирургической точностью поразивший танк ВСУ.
Армия США переходит на более крупный патрон для винтовок
Армия США намерена заменить стандартный карабин М4 новой винтовкой XM7, использующей более крупный патрон калибра 6,8 мм. Этот шаг связан с тем, что существующая 5,56-мм пуля уже не может эффективно поражать противников, оснащенных современными бронежилетами.
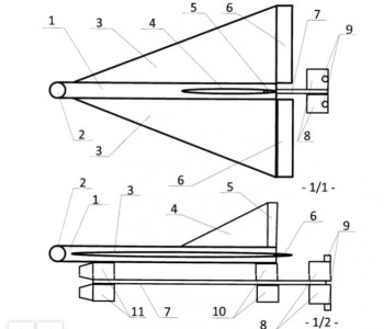
Российские специалисты запатентовали гибридный реактивный управляемый боеприпас для РСЗО
По словам отечественных изобретателей, аналогичных боеприпасов в мире пока не существует.
РИА Новости: Боеприпасы повышенной точности поступили на вооружение американской армии
Ракеты предназначены для стрельбы из РСЗО HIMARS и прочих пусковых установок


Сейчас обсуждают