РБ М57: первый удачный югославский ручной многоцелевой противотанковый гранатомёт
Приветствую Вас, друзья.
В цикле прошлых статей я рассказал о первом в мире мультикалиберном многоцелевом ручном реактивном гранатомёте РПГ-32, а также о двух его модификациях - иорданском 107мм RPG-32SF PGML "Raptor" и белорусском 105мм PAGL "Палица". В данном же посте я хотел бы рассказать о ветеране югославских войн, иногда называемом "югославским РПГ-2" - РБ М57.
реклама
Одна из первых модификаций РБ М57
История создания РБ М57: РРБ М49
Почти сразу после возникновения Югославской Народной Армии возникла острая необходимость в оснащении противотанковыми средствами. Военным руководством страны был разработан «План военной промышленности и кораблестроения на 1947-1951 годы», в соответствии с которым пехотные подразделения должны были получить новые противотанковые средства. Было 2 пути:
- делать упор на создание или закупку противотанковых ружей (преимущественно советских образцов: ПТРД, ПТР, что в будущем было бесперспективным;
- делать упор на закупку реактивных противотанковых гранатомётов, кои были щедро предоставлены Соединёнными Штатами в виде М9А1 "Bazooka" и M20A1B1 "Super Bazooka" в количествах 1000 (99600 ракет М6А1) и 4890 (419114 ракет) соответственно.
Был и третий, гораздо более сложный, но более перспективный путь: создание собственного ручного противотанкового гранатомёта. Югославия, которая позже стала лидером Движения Неприсоединения, выбрала этот независимый сложный и тернистый путь.
реклама
В 1949 году на вооружение ЮНА был принят ручной противотанковый гранатомёт РРБ М49 (Ручни Реактиван Бацач М49), разработанной в 1946-1947 годах Институтом №11, отделом Военно-технического института.
РРБ М49 - первый югославский ручной реактивный гранатомёт
РРБ М49 конструкции Мешичека представлял из себя трубу из металла с установленной пистолетной рукояткой управления огнём, прицельными приспособлениями, планкой для установки оптического прицела и сошками. Реактивный выстрел был сборным. Он состоял непосредственно из кумулятивной противотанковый мины под названием "Срно" с новым взрывателем типа К-301 и картонной коробки метательного заряда красного цвета, снаряжённая чёрным порохом (~420 грамм) и песком, расположенными в нескольких "отсеках" внутри заряда. При выстреле песок должен на некоторое время увеличить давление пороховых газов внутри ствола. "Срно" была способна пробивать около 100мм гомогенной брони - это показали испытания в 1948 году. Безоткатный гранатомёт системы Мешичека выстреливал реактивную мину со скоростью около 87 м/с на дальность около 300 метров, эффективная дальность составляла 200 метров. Подготовленный гранатомётчик мог произвести до 3 выстрелов в минуту.
Принцип действия взрывателя типа К-301
реклама
Гранатомёт Мешичека обладал ударно-спусковым механизмом оригинальной конструкции. Он представлял из себя расположенную под стволом пистолетную рукоятку, вставляющийся в неё магазин под холостые патроны калибра 5,6мм, продольно скользящий затвор и ствол от одной из малокалиберных винтовок.

Оператор-гранатомётчик должен был вставить ствол кумулятивную мину, в рукоятку магазин, заряженный холостыми патронами, дослать один из них с помощью продольно-скользящего затвора и произвести нажатие на спусковой крючок. Раскалённые пороховые газы попадали в ствол, а после прогорания картона детонирует пороховой заряд, выбрасываю "Срно" в направлении цели.
До конца 1949 года промышленность изготовила около 230 М49, а начавшаяся эксплуатация тут же выявила ряд недостатков. Улучшенный вариант получил обновлённую прицельную сетку, позволяющую быстрее вычислить необходимые поправки, антабки для ремня, изменилась система плечевого упора и крепление для оптического прицела. В 1950 в качестве стандартной гранаты для гранатомёта Мешичека стала использоваться мина М50 с новым взрывателем типа К-302, который обеспечивал детонацию снаряда даже при больших углах встречи с целью. К-301 не мог похвастаться такой особенностью.
реклама
В 1950 было произведено 6625 М49, в 1951 - 3437. Последние единицы гранатомёта были собраны в 1952 году в количестве всего лишь 20 штук. У гранатомёта были некоторые серьёзные неисправимые проблемы, а обилие американских гранатомётов, в чём-то даже превосходящих югославский РРБ, окончательно определили судьбу гранатомёта Мешичека. Он использовался до конца шестидесятых, пока полностью не был вытеснен новым гранатомётом - М57.
В 1952 году руководство ЮНА поставило задачу разработать новый гранатомёт, который не требовал бы холостых патронов в качестве "поджигателя", а также был бы гораздо дешевле, надёжнее и эффективнее РРБ М49. Запрос на начало таких опытно конструкторских работ был отправлен на завод "Крушик" в городе Валево и в Военно-технических институт в Белграде. Заводом-производителем для серийных поставок в армию должен был стать "Црвена Застава" в городе Крагуевац. Было представлено 3 образца такого гранатомёта от разных проектировщиков и конструкторов:
- Конструкторы Военно-технического завода в Валево представили доработанный вариант М49, получивший упрощённый ударно-спусковой механизм и более дешёвую технологию производства. Большая унификация с ранними М49 заинтересовала военных, однако из-за сложности производства и не слишком высоких характеристик вскоре сотрудники ЮНА потеряли интерес.
- Другой вариант модернизации М49 представил коллектив завода "Црвена Застава", заменивший холостые патроны на специальные капсюли-воспламенители, располагающиеся в барабане с шестью ячейками, который мог вращаться по аналогии с револьверами. Этот вариант не отвечал нескольким важнейшим требованиям военных, так что и интереса к итогу работы "Црвена Застава" не было. После этого попытки улучшить М49 не предпринимались.
- Самым удачным стал полностью новый гранатомёт конструкции Тодора Цветича из Института вооружений. Он использовал наработки некоторых других инженеров и применил новые конструкторские решения. Именно этот гранатомёт заинтересовал военных и в будущем получил обозначением М57.
Конструкция М57 и его модификаций

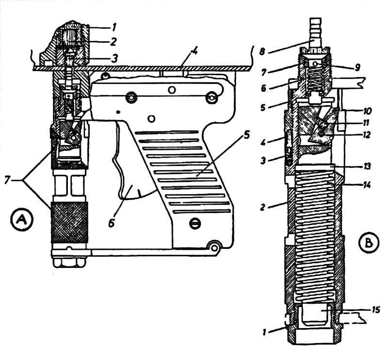
М57 представлял из себя трубу из металла калибра 44мм (армированного пластика в последних модификациях 1990-х годов) с плечевым упором, открытыми прицельными приспособлениями, креплением для оптического прицела и рукояткой управления огнём с УСМ оригинальной конструкции, работающим по аналогии с револьверами (двойного действия).
Ударно-спусковой механизм конструкции Тодора Цветича образца 1957 года, применяемый на М57 всех модификаций
Надкалиберная граната с максимальным диаметром корпуса 90 мм получила хвостовую трубку с несколькими прорезями, а также подпружиненные плоскости стабилизатора. Перед выстрелом гранатометчик должен был задвигать плоскости стабилизатора в прорези и помещать хвостовую часть гранаты в ствол. После покидания ствола стабилизатор раскрывался и заставлял гранату вращаться. В хвостовой части гранаты помещался метательный заряд – 93 г пороха. Два капсюля размещались на хвостовой трубке, рядом с метательным зарядом. Предполагалось, что в случае осечки одного из капсюлей гранатометчик сможет повернуть гранату на 180° и произвести выстрел при помощи второго.
В 1956 году завод "Црвена Застава" произвёл 15 гранатомётов конструкции Цветича после того, как М57 прошёл испытания без каких-либо серьёзных нареканий, а выявленные недостатки были оперативно исправлены. В 1958 было собрано 50 единиц М57 для прохождения войсковых испытаний. К этому времени все недостатки были устранены. Это позволило гранатомёту Цветича успешно пройти все испытания, получить войсковой индекс РБ М57 и поступать в войска.
Серийное производство гранатомётов стартовало в конце 50-х. Достаточно долгое время никаких нареканий у военных не было, однако, через 4 года, в 1964, из частей стали поступать жалобы на появление трещины в стволе в районе задней антабки для ремня. Оказалось, что неправильная технология сварки приводила к ослаблению металла и его более быстрому выходу из строя вследствие воздействия термических и механических нагрузок. Чтобы не списывать тысячи гранатомётов, "Црвена Застава" решила провести масштабные ремонтные работы. В условиях военных мастерских на заднюю часть ствола гранатомёта наматывалась плотным слоем 1,5мм стальная оцинкованная проволока, а также устанавливались новые кольца для крепления ремня. Такая модификация получила обозначение РБ М57 Отремонтированный. Позже жалоб на трещины не поступало.
Во избежание подобных инцидентов в будущем, "Црвена Застава" изменили технологию сварки, при помощи которой крепились все наружные элементы. Также был утолщён ствол. Такой вариант РПГ получил обозначение М57А1. Он стал самым малочисленным в производстве (всего около 4331 единицы за 1965-1967 годы).
Чуть позже появилось модификация М57А2. От предыдущих версий он отличался кольцами плечевого упора и улучшенными антабками, утопленными в специальные углубления. Стал наиболее многочисленным в производстве - около 12600 единиц.
Незадолго до окончания производства базовой модели М57, "Црвена Застава" стала производить её сразу в отремонтированном виде.
Сверху вниз: М57, М57 Отремонтированный, М57А1 и М57А2
Была ещё одна самая последняя, несерийная модификация , получившая условный индекс М57А3. Она получила облегчённый корпус, облицованный армированным пластиком, улучшенную многоцелевую бронебойную кумулятивно-осколочно-фугасную гранату, доработанную рукоятку управления огнём и дневной-ночной лазерозащищённый оптический прицел с увеличением 3.5х. Дальность стрельбы у данной модификации выросла до 450 метров, а бронепробиваемость поднялась с 270-320мм до 380мм гомогенной брони.
РБ М57А3 с многоцелевой бронебойной кумулятивно-осколочно-фугасной гранатой и лазерозащищённым дневным-ночным оптическим прицеломЗаключение
М57 и его модификации активно использовались всеми сторонами конфликтов на пространстве бывшей Югославии, наравне с другими противотанковыми средствами, такими как М79 "Оса" и М80 "Золя", при этом он продемонстрировал отличные боевые качества, особенно в условиях городского боя. Не один бронетранспортёр был уничтожен точным выстрелом именно из М57 или его модификаций. Универсальный дневной-ночной лазерозащищённый прицел обеспечивает безопасную работу оператору даже при использовании противником боевых лазеров.
На этом всё. До встречи, друзья.
Читайте также:
РПГ-32 "Хашим": первый в мире мультикалиберный многоцелевой ручной гранатомёт
RPG-32SF PGML "Raptor": как иорданцы улучшили самый совершенный гранатомёт в своём арсенале
PAGL "Палица": белорусская модификация РПГ-32 "Нашшаб"
Лента материалов
Соблюдение Правил конференции строго обязательно!
Флуд, флейм и оффтоп преследуются по всей строгости закона!
Комментарии, содержащие оскорбления, нецензурные выражения (в т.ч. замаскированный мат), экстремистские высказывания, рекламу и спам, удаляются независимо от содержимого, а к их авторам могут применяться меры вплоть до запрета написания комментариев и, в случае написания комментария через социальные сети, жалобы в администрацию данной сети.


