Bentley запатентовала футуристический дрон
Bentley недавно получила патент на новый футуристический дрон, который может радикально изменить представления о мобильности. Этот дрон предназначен для использования в автомобильной промышленности.
Компания заявляет, что основная цель новинки — исследовать новые технологии и материалы, которые в будущем могут быть применены в производстве машин. Дрон также может быть использован для переносов мелких грузов и повышения безопасности на дорогах.
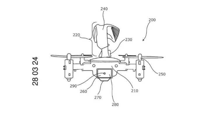
Дизайн дрона включает четыре ротора, что позволяет ему подниматься на значительные высоты. Он оснащен системой автономного управления, навигацией, камерами и сенсорами для сбора данных о окружающей среде.
Эксперты полагают, что появление такого дрона может открыть новую эру в сфере мобильных технологий. Дрон будет запускаться из специального отсека под капотом автомобиля и сможет выполнять различные функции, делая вождение более комфортным и безопасным.
Представители Bentley рассказали о возможных сценариях использования дрона: "Представьте, что вы застряли в пробке и ищете альтернативный маршрут. Или вы забыли, где припарковались у торгового центра. Наш дрон сможет быстро найти свободное место для парковки, провести вас к вашему автомобилю или даже вызвать экстренные службы в случае аварии".
В настоящее время неизвестно, когда дрон поступит в продажу, но если это произойдет, он обещает стать эксклюзивным новшеством для тех, кто ценит последние достижения в области роскоши и технологий.
Лента материалов
Соблюдение Правил конференции строго обязательно!
Флуд, флейм и оффтоп преследуются по всей строгости закона!
Комментарии, содержащие оскорбления, нецензурные выражения (в т.ч. замаскированный мат), экстремистские высказывания, рекламу и спам, удаляются независимо от содержимого, а к их авторам могут применяться меры вплоть до запрета написания комментариев и, в случае написания комментария через социальные сети, жалобы в администрацию данной сети.


Комментарии Правила